搜索进入
百度搜索
“湖北政务服务网”
http://zwfw.hubei.gov.cn
点击首页“特色服务”中的“更多”
(注意:此处顶部不选择行政区划,选择行政区划“鄂州市”后,特色服务里面找不到社会组织年度检查选项。)

进入新页面后找到“社会组织年度检查”,
按社会组织类别选择
“对社会团体进行年度检查”或“对民办非企业单位进行年度检查”。

选择登录
进入用户登录界面后,
选择法人用户登录
账号为社会组织统一信用代码,
密码为社会组织自行设置,如忘记密码请点击“找回密码”重新设置。

若法人用户登录时提示“此账号不存在”,须先使用法定代表人的个人身份信息注册自然人用户,然后再使用社会组织登记信息(名称、统一社会信用代码等)和法定代表人身份信息(姓名、身份证号等)注册法人用户,注册成功后方可登录,若密码错误,请根据政务网提示进行找回密码操作。
填写信息
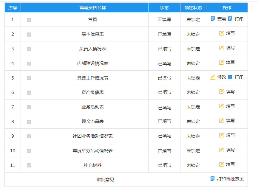
点击“查看”进入年检系统。
进入年检系统后,如实填报《年检报告书》。

请确认每页的填写状态,除“不填写”的页面,其余页面状态为“已填写”,方能提交。

以社团易错表为例

填表说明(以社团为例)_01

填表说明(以社团为例)_02

填表说明(以社团为例)_03
报送材料
年检材料网上审核完毕后,请市本级社会组织将打印好的年检材料报送至古城路129号市民中心民政窗口。
注意:报告书打印后,检查材料的完整性,注意封面、内页相应位置的签字盖章;报送前再次核对纸质财务报表和网上报表数据是否一致。

填表说明(以社团为例)_04

填表说明(以社团为例)_05

填表说明(以社团为例)_06

填表说明(以社团为例)_07

